OEM 2.4mm RF coaxial connector Supplier

Ningbo Hanson Communication Technology Co, Ltd. Home / Mga produkto / RF coaxial connector / 2.4mm RF coaxial connector

2.4mm RF coaxial connector

Paglalarawan:

Ang konektor ng 2.4mm series ay isang mataas na dalas na konektor ng RF na idinisenyo para sa high-precision, high-frequency application, lalo na para sa mga okasyon ng paghahatid ng signal na nangangailangan ng isang saklaw ng dalas ng paghahatid ng 40 GHz o kahit na mas mataas. Ito ay isang mainam na pagpipilian para sa pagbibigay ng mga koneksyon sa signal ng high-performance sa microwave frequency band, high-speed na komunikasyon, at mga patlang na pagsubok at pagsukat.

Parameter:

Pangunahing mga pagtutukoy sa teknikal:
◆ Katangian ng impedance: 50Ω
◆ Saklaw ng dalas: DC-50GHz
◆ Paglaban sa pagkakabukod: ≥5000MΩ
◆ Dielectric withstand boltahe: 500V (rms)
◆ Voltage Standing Wave Ratio (VSWR): ≤1.35
◆ Mga siklo ng pag -aasawa: 500 beses

Magtanong

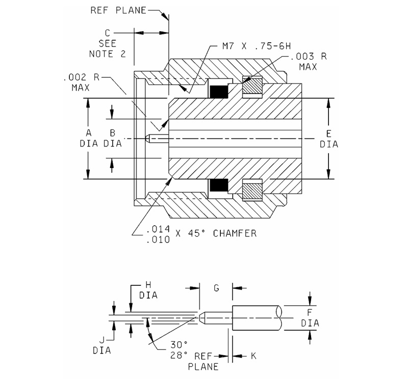
Sulat Milimetro (pulgada)
Minimum Pinakamataas
A 4.725 (.186) 4.75 (.187)
B 2.393 (.094) 2.408 (095)
C 1.85 (.073) 2.45 (.096)
E 4.75 (.187) 4.85 (.191)
F 1.035 (.0407) 1.05 (.0413)
G 1.34 (.053) 1.45 (.057)
H 0.498 (.0196) 0.523 (.0206)
J ------------ 0.25 (.010)
K 0.00 (.000) 0.08 (.003)

Mga Tala:
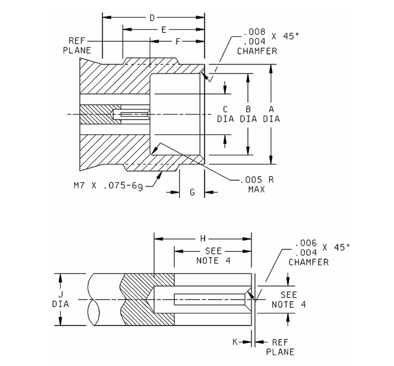
1. Ang haba ng thread ay mula sa dulo ng pagkabit ng nut, 4.37 mm (.172inch) na minimum, 0.63 mm (.025 pulgada) ± 0.25 mm (.010 pulgada).
2. Na may pagkabit ng nut bias sa pasulong na direksyon.
3. Ang mga sukat ay nasa milimetro.
4. Ang mga katumbas na pounds ay ibinibigay para sa impormasyon lamang.
5. Ang counter ay nagbigay ng 7 mm (.276 pulgada) na minimum.

Sulat Milimetro (pulgada)
Minimum Pinakamataas
A 4.725 (.186) 4.75 (187)
B 2.393 (.094) 2.408 (.095)
C 1.85 (.073) 2.45 (.096)
E 4.75 (.187) 4.85 (.191)
F 1.035 (.0407) 1.05 (.0413)
G 1.34 (.053) 1.45 (.057)
H 0.498 (.0196) 0.523 (.0206)
J -------- 0.25 (.010)
K 0.00 (.000) 0.08 (.003)

Mga Tala:
1. Ang haba ng thread ay mula sa dulo ng pagkabit ng nut, 4.37 mm (.172inch) na minimum, 0.63 mm (.025 pulgada) ± 0.25 mm (.010 pulgada).
2. Na may pagkabit ng nut bias sa pasulong na direksyon.
3. Ang mga sukat ay nasa milimetro.
4. Ang mga katumbas na pounds ay ibinibigay para sa impormasyon lamang.
5. Ang counter ay nagbigay ng 7 mm (.276 pulgada) na minimum.

2.4mm $ SERIES
  • 2.4-JB2
    2.4-JB2
    Modelo Uri ng cable
    2.4-JB2 SFT-50-2,670-086
  • 2.4-J125
    2.4-J125
    Modelo Uri ng cable
    2.4-J125 $ 125
  • 2.4-J230
    2.4-J230
    Modelo Uri ng cable
    2.4-J230 Milflex230 $

Makipag -ugnay

Magsumite ng
Tungkol sa amin
Ningbo Hanson Communication Technology Co, Ltd.
Ningbo Hanson Communication Technology Co, Ltd.
Ningbo Hanson Communication Technology Co., Ltd. is China 2.4mm RF coaxial connector Supplier and Custom 2.4mm RF coaxial connector Company. We are a manufacturer specializing in the production, processing, and trade of communication components, with more than 30 years of experience in RF coaxial connectors, adapters, and cable assemblies. Ang kumpanya ay nakabuo na ngayon ng sariling machining workshop, electroplating workshop, pagpupulong ng pagpupulong, at isang pangkat ng matatag at maaasahang mga supplier. Ang layunin ng kumpanya ay upang magbigay ng mga customer ng mga de-kalidad na produkto. Ang mga pangunahing produkto ay mga RF coaxial connectors, adapter, high-frequency cable assembly, at mababang intermodulation cable assembly. Bilang karagdagan, ang kumpanya ay maaari ring magbigay ng mga serbisyo para sa mga customer na may pasadyang mga pangangailangan upang matugunan ang mga espesyal na kinakailangan ng mga customer para sa mga produkto. Ang mga produkto ng kumpanya ay malawakang ginagamit sa aerospace, mga istasyon ng base ng komunikasyon, kagamitan sa medikal, at iba pang mga high-tech na patlang. Sa oras ng reporma sa negosyo, pagbabago, pag -unlad, at paglago, kinuha ng kumpanya ang inisyatibo upang sumali sa ISO9001 International Quality Management System at patuloy na pinabuting antas ng pamamahala upang magbigay ng mas kasiya -siyang mga produkto at serbisyo sa mga bago at lumang mga customer.
Pinakabagong balita
Naghahanap ng pagkakataon sa negosyo?

Humiling para sa isang tawag ngayon